- 30-day returns
- Fast shipping
- Secure payments
- Over 300,000 products
category:
Hydraulics & Pneumatics & Plumbing
country_of_origin:
China and Other Countries
manufacturer:
Brennan
mpn:
6801-LLL-06-08-NWO-FG
subcategory:
Fittings/Hoses/Adapters
type:
Tube Fittings and Adapters
Product Description
Brennan - 6801-LLL-06-08-NWO-FG MJ-MAORB 90 Elbow XX-Long
Additional Information
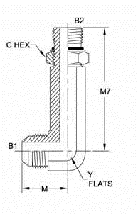
THREAD B1 TYPEMALE JIC SAE 37 DEGREE FLARE
THREAD B1 SIZE9/16-18
THREAD B1 DRILL IN0.297
THREAD B1 SPECIFICATIONSAE J514
THREAD B2 TYPEMALE SAE ADJUSTABLE ORING BOSS
THREAD B2 SIZE3/4-16
THREAD B2 DRILL IN0.391
THREAD B2 SPECIFICATIONSAE J514
BODY HEX IN0.750
C HEX 1 IN0.875
OVERALL LENGTH L IN3.530
CENTERLINE LENGTH M IN1.140
SHAPE90 DEGREE
BODY MATERIALSTEEL
RAW MATERIAL TYPESTEEL FORGING
PLATINGCR3
O-RING / SEAL MATERIALNBR
WEIGHT LBS0.4687
CALIFORNIA RESIDENTSPROP-65 WARNING
ConnectionsJIC, ORB
ShapeElbow
